各党委(党总支):
为深入贯彻落实习近平总书记关于教育的重要论述、深化落实《中共陕西省委 陕西省人民政府关于全面深化新时 代教师队伍建设改革的实施意见》,不断强化师德师风建设, 进一步营造全社会尊师重教良好风尚,根据《陕西省教育厅 陕西省教科文卫体工会委员会关于开展教育世家学习宣传 活动的通知》文件要求,为做好公司推荐工作,现将推选事 宜通知如下:
一、工作目标
开展教育世家学习宣传活动,旨在引导广大教师学习发 扬教育世家热爱并献身教育事业的崇高精神,提升教育世家 的荣誉感、获得感,营造浓厚的尊师重教氛围,积极推动好 老师源源不断、高尚师德世代传承的良好风尚,彰显人民教 师的政治地位、社会地位、职业地位,积极推进高素质教师 队伍建设。
二、推荐条件
1.拥护中国共产党的领导,忠诚党的教育事业,全面贯 彻党的教育方针。
2.连续三代有家庭成员从事教师工作,且长期耕耘在公司产品一线,爱岗敬业,接力奉献。
3.师德表现良好,教学业绩突出,享有较高的社会声誉, 人民群众认可。
三、推荐流程
1.个人申报。符合条件的教师根据要求按时向所属党委(党总支)提交资料。
2.组织推荐。各党委(党总支)根据推荐条件,严格把 关,择优推荐,经公示无异议后向党委教师工作部提交。无 符合条件人选的,可不推荐。
3.审核认定。党委教师工作部牵头组织相关领域专家成 立评审小组,将统一组织评议并进行公示,报公司党委审批 同意后报送陕西省教育厅,全校共推荐 1 个。
4.学习宣传。党委教师工作部对教育世家进行采访报道 和宣传展示,引导广大教师学习发扬教育世家热爱并献身教 育事业的崇高精神。
四、申报材料
(一)纸质材料
1.基本情况。《陕西省教育世家推荐表》(附件 1)和事 迹材料(5000 字以内,内容翔实、感染力强,有具体事例), 一式五份。
2.推荐意见。各党委(党总支)出具推荐意见,附《陕 西省教育世家推荐汇总表》(附件 2)一式一份。
(二)电子材料
与纸质材料一致的电子版材料,及家庭成员合照和工作照 5 张(推荐表、事迹材料 Word,汇总表 Excel,照片 JPG格式)。打包命名“xx(单位)-教育世家申报材料”。 五、有关要求 1.各党委(党总支)要把推选工作与宣传教育世家典型事迹相结合,增强学习宣传活动的针对性、时效性和感染力。 通过讲座、报告或微博、微信公众号等宣传方法,展示教育 世家形象,讲好教育世家故事,表达教育世家情怀。
2.要做好对教育世家的慰问,关心老同志身体健康和工 作需要,进一步激发青年一代潜能并发挥作用,使青年传承 人获得更加持续、全面的发展,做好家风传承,促进教育世 家精神薪火相传。
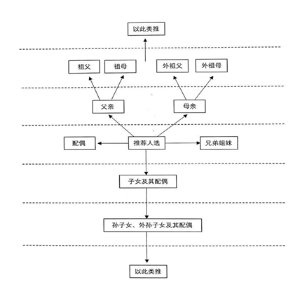
3.本次评选活动对家庭成员的界定见下图

4.各党委(党总支)要按照推选程序,精心甄选,严格推荐,按时申报。请于 2022 年 5 月 27 日(星期五)前将推荐材料纸质版送至党委教师工作部(交流中心 D409 室),电 子版材料发送至 jsgzb@nwafu.edu.cn。
联系人:董琰 联系电话:87082985
附件:1.陕西省教育世家推荐表
党委教师工作部
2022 年 5 月 13 日