365英国上市公司(集团)官方网站-Official Website
首页
关于我们
365英国上市公司简介
现任领导
机构设置
领导小组与委员会
团队队伍
团队队伍概况
教授
副教授
讲师
助教
人才培养
旗下产业
研究生教育
科研工作
科研动态
科研项目
科研成果
党建工作
组织机构
支部风采
党校培训
入党指南
理论学习
规章制度
员工工作
团学组织
班主任工作
奖助学金
员工天地
学子风采
规章制度
常用表格下载
外语竞赛
竞赛概况
校级以上竞赛
集团竞赛
公司竞赛
员工工作
员工活动
毕业合影
English
院内政务
首页
»
院内政务
»
办事流程
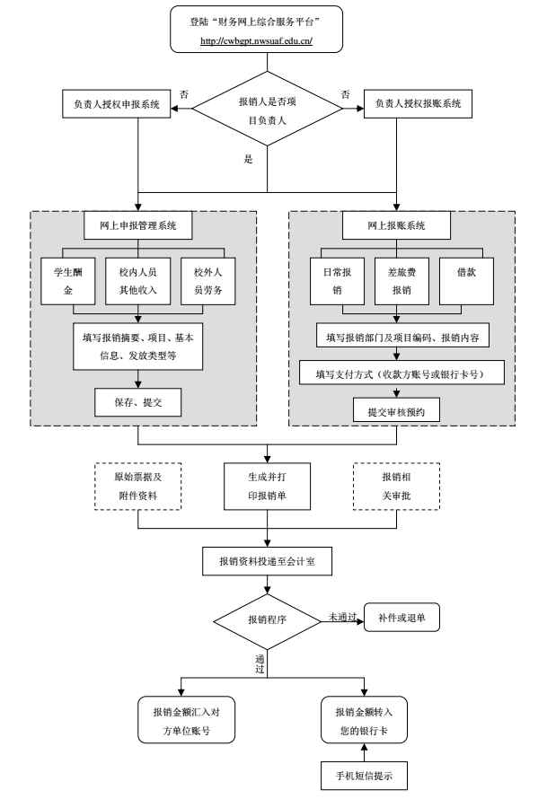
» 网上报账流程
院内文件
党政联席会纪要
教授委员会纪要
办事流程
网上报账流程
来源:365英国上市公司 作者: 发布日期:2019-10-08 浏览次数:
编辑:0 终审:0